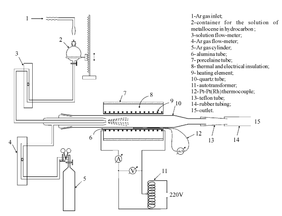
Experiment
The experimental setup used in our
experiments to synthesize carbon nanotubes consist of an electric
furnace with an effective heating length of 200 mm, a quartz reactor of
18 mm inner diameter and a nozzle with two concentric tubes of 0.8 and
1.8 mm inner diameter, respectively. The inner tube of the nozzle
carries the metallocene–hydrocarbon solution, while the outer one
guides the carrier gas in order to pulverize the solution.
We investigated the effect of the
experimental parameters (temperature, catalyst concentration, flow rate
of carbon source and carrier gas), the influence of metallocenes
(ferrocene, cobaltocene and nickelocene) and hydrocarbons (benzene,
toluene, xylene, cyclohexane, cyclohexanone, n-hexane, n-heptane,
n-octane and n-pentane) on the quality and quantity of the nanotubes
grown by spray-pyrolysis. The product deposited on the walls of the
quartz tube was collected and analyzed by transmission and scanning
electron microscopy (TEM and SEM), X-ray diffraction, and scanning
tunneling microscopy (STM).
Results
MWCNTs were produced with maximum yield when ferrocene–nickelocene
catalyst mixture was used and xylene was found to be the most efficient
carbon source. For xylene the weight of purified carbon nanotubes
normalized to the weight of catalyst material is higher than 50%. Good
quality thin MWCNTs were produced from n-octane, but in lower quantity
than in case of xylene. Nevertheless, the production of MWCNTs was
possible in case of all mentioned hydrocarbons and metallocenes. For
xylene the best results were obtained at 800 ºC, 1.5 g ferrocene
in 50 ml xylene catalyst concentration, 500 l/h carrier gas flow rate
and 1 ml/min carbon source flow rate.

SEM image of the carbon nanotubes

|

|
TEM
images of the samples produced of xylene and octane, respectively
|

|

|
Diameter
distribution of the nanotubes produced of xylene
|
Comparison
of the outer and inner diameters of the carbon nanotubes produced of
different carbon sources. The diagram shows the diameter intervals
containing 80% of the nanotube diameters measured in the sample.
|
Publications
Tapasztó L., Kertész K., Vértesy Z.,
Horváth Z. E., Koós A. A., Osváth Z.,
Sárközi Zs., Darabont Al.,. Biró L. P:
Diameter and morphology dependence on
experimental conditions of carbon nanotube arrays grown by spray
pyrolysis
Carbon
43 (2005) 970–977.